冰球突破矿装 首页> 渣浆泵> 渣浆泵配件> 渣浆泵配件名称介绍

渣浆泵配件名称介绍

2016-04-13 来源:冰球突破矿装 (24905次浏览)

温馨提示: 如果你想了解更多信息(如产品价格、参数、规格及处理能力等),请联系冰球突破客服。

目前渣浆泵的使用范围越来越广,输送的颗粒粒度越来越大,毒性也越来越强,对渣浆泵密封的腐蚀和磨损也越来越严重,这就要求渣浆泵的各个配件耐磨耐腐蚀性能要好,下面通过渣浆泵的结构图来了解下渣浆泵配件名称。

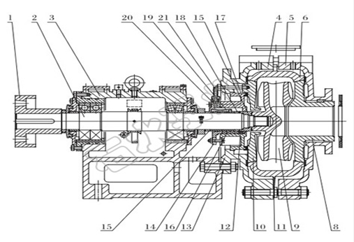
如图所示,各个数字所代表的渣浆泵配件名称如下:数字1为前护板,数字2为叶轮,数字3为护套。数字4为托架体,数字5为轴,数字6为螺母乙,数字7为调整螺母甲,数字8为调整孔盖,数字9为减压盖,数字10为付叶伦,数字11为后护板,数字12为泵体,数字13为泵盖,其中数字2和12所代表的叶轮和泵体是渣浆泵重要的配件,对运输工作的运行发挥着至关重要的作用。

在电动机的作用下,叶轮高速旋转,同时带动叶片旋转将固液混合物甩出,以完成山西渣浆泵的压水过程。在这过程中叶轮速度大,产生较大的离心力,以使叶轮上的叶片发挥主要作用。为减少摩擦损失,要求叶轮的内外表面光滑。泵体又称为渣浆泵的外壳,与叶轮一样是水泵的主要配件,对整个机体起到支撑作用。

生产渣浆泵配件的厂家众多,其中冰球突破矿山企业是在配件生产技术先进的厂家之一,可根据客户的要求进行量身定做。冰球突破是注重渣浆泵配件产品的优化与改进,其生产的渣浆泵配件质量有保证。

内容版权归冰球突破矿装所有
未经许可不可擅自使用如需转载文章
请联系我们授权
侵权必究!

分享到:

上一篇:Sh渣浆泵的轴封方式有哪些

Sh渣浆泵排矿口方向在生产中可按45°间隔进行调节,因此共有8个排矿方向。当输送物料扬程较低时可用作磨蚀性较强的物料输送,在扬程较大的情况下可用于输送磨蚀性较弱的物料。在矿山、冶金、建筑、煤炭等行业有着广泛的运用。

下一篇:中心浓缩机的自动控制介绍

中心浓缩机是选矿厂常用的一种自动化程度较高的浓缩脱水设备,多用于选厂精矿或尾矿浓缩脱水。说道自动化,在现在的工业发展过程中,无论何种工业类型都趋向于自动化的控制,选矿行业的中心浓缩机工作的自动控制也不例外。其实浓缩机设备的自动控制由来已久。在以前,浓缩机的自动控制系统还不太先进,说实话可以说几乎没有。

在线留言

您可以在下面表格填写您的需求信息,我们会尽快与您取得联系。

请在此填写您的具体需要:

冰球突破矿装
联系我们
服务热线 服务热线

15311826613