聚焦公司动态,解读选矿知识,剖析行业热点,分享选矿经验,我们将冰球突破动态及时呈现给您。在这里,您可以更深入、更全面地了解冰球突破矿装。
2016-08-24 来源:冰球突破矿装 (19374次浏览)
易门铜矿小木奔选矿厂由北京有色洽金设计研究院于1957年设计,设计能力为4400t/d。
该厂所处理的矿石属中温热液交代浸染状似层状铜矿床。金属矿物主要有黄铜矿,次为斑铜矿、孔雀石和少量辉铜矿、铜蓝、蓝铜矿、赤铜矿等。脉石矿物以白云石和碳化白云石为主,其次为石英、方解石、长石等。铜矿物主要产于白云岩和碳化白云岩中,硫化铜矿物的嵌布以块状、斑点状、散点状为主,氧化矿物呈粉状和薄膜状产出。黄铜矿粒度为0 .03mm?0.2mm。
矿石硬度中等,密度2.85t/m3,松散密度1.65t/ m3,安息角31?38。。原矿含铜0.7?1.0%,氧化率小于10%,结合率2?3%。
碎矿为三段开路流程,最终破碎粒度大于18mm的不超过10%。磨矿为两段连续磨矿。第一段磨矿浓度75?80%,溢流浓度44~50%,返砂循环负荷率C=100%。第二段磨矿浓度70?75%,溢流浓度23?26%,返砂循环负荷率C= 200%。
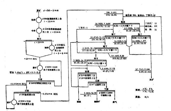
工艺流程见下图,浮选流程为一粗、三精、一扫。

浓缩机给矿浓度10?15%,沉砂浓度大于60%,溢流水要求固体含量小于0.05g/L,过滤机滤饼含水小于20%,干燥后小于14%。近年来的工艺指标见表一。
表一 工艺指标
| 项 目 | 1982 年 | 1983 年 | 1984 年 | 1985年 | 1986 年 |
| 原矿品位,% | 0.812 | 0.897 | 0.766 | 0.885 | 0.932 |
| 氧化率,% | 11.4 | 10.03 | 6.96 | 7.54 | |
| 结合率,% | 2.57 | 2.21 | 1.91 | 1.93 | |
| 回收率,% | 90.74 | 91.35 | 89.59 | 90.19 | 89,75 |
| 精矿品位,% | 24.93 | 29.03 | 29.46 | 29.10 | 29.50 |
| 尾矿品位,% | 0.077 | 0.08 | 0.082 | 0.089 | 0.098 |
该选矿厂有如下特点:
1、三段开路碎矿为了确保最终碎矿粒度大于 18mm,不超过10%,生产中对细碎机伞板进行了加工,以保证排矿口为5?8mm。
2、该厂从1980年起,根据矿石中矿物种类的变化,及时控制加药量,特别是捕收剂丁黄药的用量,严格控制精选浓度和刮出量,使铜精矿品位大幅度上升,从1979年18.85%上升到1982年的24.93%。
3、1983年将原阶段磨矿阶段选别流程改为阶段磨矿集中选别流程,提高了入选物料的细度,同时取消了头两槽的中间浮选,精矿全部进入精选,不仅有利于精矿品位的提高,同时降低了浮选机部件的磨损,每年节约10万元左右。
4、磨矿机波纹型衬板改为大块衬板,使衬板使用周期提高57%以上。
5、选矿厂在球磨给矿、磨矿分级、pH控制等方面已实现了自动控制,目前正在试验一段磨矿分级的计算机化控制。
选矿厂主要设备见表二。
表二 主要设备
| 序号 | 设备名称及规格 | 单位 | 数量 | 备注 |
| 1 | 900旋回破碎机 | 台 | 1 | 处理量:360?500t/h |
| 2 | φ2100标准圆锥破碎机 | 台 | 1 | 处理量:470t/h |
| 3 | φ2100短头圆锥破碎机 | 台 | 2 | 处理量:100?290t/h |
| 4 | φ3200×3100格子型球磨机 | 台 | 6 | 单位处理量:1.226t/(m3h) |
| 5 | φ2400高堰式双螺旋分级机 | 台 | 3 | |
| 6 | φ600水力旋流器 | 台 | 9 | |
| 7 | XJK-2.8及XJK-2.8改造浮选机 | 槽 | 162 | 单位处理量所需容积:0.092(m3/t.d) |
| 8 | φ24m周边式浓缩机 | 台 | 1 | |
| 9 | φ18m周边式浓缩机 | 台 | 2 | |
| 10 | 51m圆盘过滤机 | 台 | 2 | 使用一台,备用一台。单位处理量:0.314 t/(m2h) |
| 11 | 2200×12000干燥剂 | 台 | 2 | 使用一台,备用一台。单位处理量:0.421 t/(m3h) |
内容版权归冰球突破矿装所有
未经许可不可擅自使用如需转载文章
请联系我们授权
侵权必究!
大冶铁矿选矿厂是我国较早开设大规模投产的一家铁矿选矿厂,选矿过程中遇到过很多问题,但是在不断改进过程中取得较大突破,是一个少有的值得借鉴铁矿选矿案例,下面我们来一起了解一下大冶铁矿选矿厂的详细选矿过程吧!破碎筛分部分于1958年投产,选矿部分于1960年投产。该厂扩建后设计规模定为400万t/a。
在选矿厂中,为保障有用矿物的回收率,需将矿石磨细至0.1~0.3mm,甚至有时需磨至0.05~0.074mm以下,才能实现矿物解离。另外,磨矿系统所消耗的动力可占整个选厂总动力消耗的40%~60%,基建投资可占整个选厂的60%。因此,对磨矿设备的选择非常重要。

您可以在下面表格填写您的需求信息,我们的技术与销售人员会尽快与您取得联系。为保证能及时处理您的信息,请务必准确填写您的联系电话!